1、“施管通”是什么?
“施管通”---施工企业综合业务管理系统,是广东世纪信通网络科技有限公司为施工类企业和总承包商专门打造的企业级集成管理系统,它集成了协同办公、合同管理、工程管理、采购与仓库、财务管理、行政人事、文档中心等专业系统,汲取了住建部《2016-2020年建筑业信息化发展纲要》和众多优秀施工企业的信息化成果和管理智慧。
.png)
适用企业:
“施管通”可在建筑、安装、装饰、市政、路桥、水利、消防、弱电、地产等工程施工、工程建设投资、总承包等企业应用;此外,也适合以建设工程为主营业务,其分/子公司有工程配套加工的多元化经营企业(如:门窗、幕墙、钢构、混泥土加工、机械租赁等)。
2、应用价值:
1、搭建企业统一办公平台:以iBOSS智能开发平台为基础,实现企业和项目的数据集中管理和共享,关键流程的电子化、规范化,提升企业工作效率。
2、降低企业经营风险:从合同签订、项目启动、项目计划(进度、材料、成本)、项目报告、竣工结算、资料归档、成本费用管理,系统提供了5大类32个子业务流程,并延伸到挂靠项目,控制经营风险。
3、提升项目利润:通过项目成本计划、支出合同、实际成本三算对比分析,以及成本科目设置,对项目成本进行分类管理和控制。依据用户实际经验,通过网络办公实行人力扁平化管理,节约20%的管理人员劳力;通过材料比价(供应商比价,比质,历史价格查询等),在材料品种繁多的行业,其成本下降5%-8%;工程总包、土建类工程成本下降2%左右。
4、移动办公:全面支持手机移动办公,随时随地快速查阅信息,在线办理项目事务,一机在手,尽在“掌”中。
.png)
3、解决之道:
“施管通”以项目为中心,对施工预算、进度、合同、材料、设备、质量、安全、文档等进行全面综合管理,重点关注项目管理模式、成本责任主体,纵向贯穿项目计划、分包、施工、竣工的全过程,横向涉及集团(公司)-分/子公司--项目部的各个岗位,是一套全方位、集成、实用的企业级项目集成管理平台。
“施管通”面向业务而不是针对组织机构设计,因此,通过对人员的授权调整,对系统的快速、灵活定义和配置,即可满足建设企业管理模式调整、人员频繁流动对的特点。
施工企业信息化蓝图:
.png)
以项目为核心的业务流程:
.png)
4、系统功能特点
◇ 系统成熟稳定
公司至2002年成立以来,“施管通”软件已在国内众多施工企业得到成功应用,涉及房建、市政、通信、交通等多个领域,产品成熟稳定,并提供独特的行业解决方案。
◇ 与实际紧密结合
“施管通”不同于一般的传统OA办公系统,而是紧密围绕建筑施工企业的经营活动和项目管理关键信息,构建施工企业综合业务管理信息化整体解决方案。
◇ 灵活定制
围绕业务流程和岗位职能,适应施工企业组织机构的频繁调整,基于IBOSS智能开发平台,系统稳定,定制开发效率高。
◇ 简单易用
纯B/S结构,操作简单、维护方便,与微软OFFICE无缝集成,支持跨区域工作需要。
◇ 信息安全
统一分配帐号和用户密码,完整的操作日志(对用户操作行为形成后台记录)。严谨的功能模块(菜单)访问权限、分支机构管理权限与项目数据权限相结合,满足岗位、机构、项目责任对信息安全管理的要求。
支持软、硬件加密技术(支持SSL)的结合,提高系统的安全级别。采用成熟的软件架构,软件已通过权威安全检测机构“绿盟”的检测,通过全球领先的自动化测试工具奇虎360IBM Security AppScan全面的安全测试,软件安全性已得到南方电网、铁道部等大型机构的认可。
◇ 实用
通过多年的项目实践经验积累和系统优化,协助客户快速部署,实施上线成功率高。
◇ 免安装部署,售后服务好
基于云端设计,为客户提供高性价比的云服务器和代维服务,不用购买服务器和正版操作系统和数据库软件,让客户高枕无忧,安心主营业务。
5、“施管通”软件界面展示
1)系统主界面:自定义的个人工作台
.png)
2)管理门户 :自定义的领导桌面
.png)
3)经营分析表-项目毛利润分析表,直观展示所有项目收支情况和利润值。

4)进度计划:WBS任务分解,支持project、XML导出,以甘特图显示项目计划和实际完成情况 ,对进度计划、大型设备进场等进行管理。
.png)
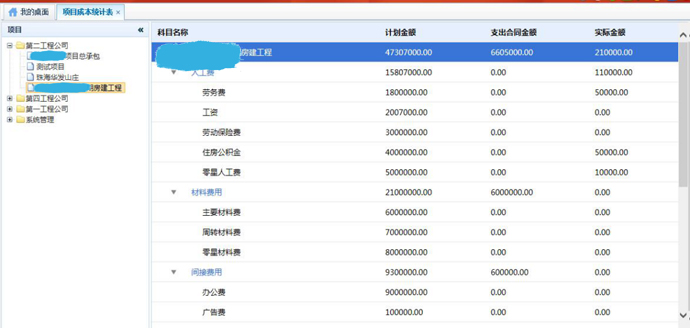
5)项目成本核算:按项目进度阶段、按成本科目,对项目成本进行分类核算。
Ø 部门级成本核算统计
.png)
Ø 单项目成本核算统计
.jpg)
6)采购与仓库:含材料计划、采购申请、订单下达、入库、出库领用、调拨、库存台账。
.png)
7)物资管理:固定资产、周转物资、仪器仪表等,形成入库、调拨、维修、借出信息跟踪;
.png)
8)知识文档:严密的文档知识权限,支持文档版本、大文件上传、电子签名、打包下载等。
.png)
9)预警平台:用户可自定义的预警平台
.png)
10)强大的审批流程引擎,系统自带5大类32个业务流程,用户也可自定义流程和表单。
.png)
11)移动办公APP:支持IOS、Android、Win等智能手机和平板,并可与手机绑定,安全可靠,随时随地查阅资料和处理审批事项。
6、服务内容:
广东世纪信通公司一直坚持以客户为本,把客户满意度放在首位,以优质高效的服务来保障客户的利益,我们提供的服务内容包括:
1)成熟产品:为了确保客户长期利益,公司内部配置了专业的产品研发团队,根据行业发展需求和客户的意见反馈,长期安排对产品进行升级和完善。
2)管理咨询:珠海世纪信通公司在十余年的建设行业信息化实践经验积累的基础上,形成了行业管理智库和核心业务流程模板,为客户提供企业管理咨询服务。
3)实施服务:俗话说得好,软件“三分产品,七分实施”,我们为客户提供快速实施方法论。我们认为:适合本行业特点的高效实施服务方案,让客户上线成功,是我们的目标。
4)维保服务:在系统应用过程中,客户需要高性价比、安全可靠的维保服务,我们将提供结合云计算技术,为客户提供云服务器租用和系统代维,确保客户高枕无忧,安心发展主营业务。